稀有金属 2005,(06),803-809 DOI:10.13373/j.cnki.cjrm.2005.06.001
YG8硬质合金注射成形脱脂工艺的研究
李志希 肖琼 刘涛
中南大学粉末冶金国家重点实验室,中南大学粉末冶金国家重点实验室,中南大学粉末冶金国家重点实验室,中南大学粉末冶金国家重点实验室 湖南长沙410083,湖南长沙410083,湖南长沙410083,湖南长沙410083
摘 要:
采用传统蜡基粘结剂和 (油+蜡) 基改进粘结剂两种粘结剂, 对粒度为1.97μm的WC-8Co混合粉末注射成形, 研究了两种喂料的热脱脂、溶剂脱脂+热脱脂工艺, 确定了热脱脂、溶剂脱脂+热脱脂的优化工艺曲线。从脱脂速度和脱脂时间、脱脂缺陷和脱脂工艺控制的难易程度等方面比较了两种粘结剂的热脱脂和溶剂脱脂效果。研究了热脱脂温度、时间不同脱脂方式以及粘结剂组成对脱脂坯碳含量的影响。结果表明, 以氢气为脱脂气氛, 在450℃以下进行热脱脂可以将有机聚合物完全脱除而且不产生脱碳, 溶剂脱脂后再进行热脱脂更有利于控碳和减少脱脂缺陷, 而且大大缩短脱脂时间。 (油+蜡) 基改进粘结剂在热脱脂和溶剂脱脂时具有更好的脱脂特性。
关键词:
硬质合金 ;注射成形 ;热脱脂 ;溶剂脱脂 ;
中图分类号: TF124.39
收稿日期: 2004-07-29
基金: 国家十五“863”项目 (2002AA331090);
Debinding Process of Cemented Carbide Green Part by Powder Injection Molding
Abstract:
By using a traditional paraffin wax base multi-component binder and a kind of (wax+oil) improved binder, the WC-8Co powder mixture with particle size of 1.97 μm was injected by powder injection molding.The thermal debinding process and solvent +thermal debinding combined process were studied to determine the optimal debinding processes.The efficiency of the two binders on thermal debinding and solvent debinding was compared in inspect of debinding rate, defects of the brown parts and debinding process.The influences of thermal debinding temperature, time, different debinding methods and binder component on the carbon content of the brown parts also was studied.The results showed that, when the green part is thermally debinded below 450 ℃ under H2 atmosphere, the polymer binder in the green part can be removed completely without carbon loss in WC powder.Solvent debinding before thermal debinding has advantage in controlling carbon content of the brown part and defects, and the debinding time is shortened greatly.The (wax+oil) improved binder has better debinding characteristics during thermal debinding and solvent debinding.
Keyword:
cemented carbide;powder injection molding; thermal debinding;solvent debinding;
Received: 2004-07-29
粉末注射成形 (PIM) 源于塑料注射成形, 是制备复杂形状零部件的一种较新的技术。 PIM最大的优点是在产品形状设计和制造方面具有很大的自由度和经济优势
[1 ,2 ]
。 随着PIM工艺的发展和硬质合金零部件的形状设计越来越复杂, 用PIM制备硬质合金渐渐获得较为广泛的应用, 如手表链、 手表壳、 剃须刀、 微型钻头、 缝纫机上的零部件等
[3 ,4 ]
。 传统粉末冶金 (PM) 模压烧结法在大批量生产形状较复杂的硬质合金产品方面已具有相当成熟的工艺。 因此, 用PIM方法制备硬质合金具有很大的挑战性, 它要求产品设计具有更奇特的复杂程度, 同时要求用PIM制备的硬质合金的密度、 强度等性能能够与传统PM法媲美。 PIM的技术优势与经济优势使得硬质合金的注射成形曾一度成为硬质合金研究的焦点之一, 人们尝试了从普通微米级硬质合金到超细、 纳米级硬质合金粉末的注射成形
[5 ,6 ]
。 但是, 由于PIM工艺复杂、 影响因素多, 而工业用硬质合金对密度和性能要求高, 提高和稳定PIM硬质合金的性能一直是PIM工艺中的最大难点。 尽管PIM在铁基金属制品上的生产工艺已经相当成熟, 但在硬质合金方面的规模应用尚未得到充分发展。 在PIM工艺中, 粘结剂化学和粘结剂的脱除是否完全是影响硬质合金注射成形至关重要的因素。 国内有人研究了通过脱脂气氛对硬质合金的碳含量进行控制, 并取得一定的效果
[7 ,8 ]
。 本文通过改变粘结剂组成, 研究了不同粘结剂条件下的热脱脂和溶剂脱脂特性, 通过碳含量分析, 比较了不同条件下的脱脂效果。
1 实验方法
采用的原始粉末为WC-8Co硬质合金混合粉末, 粉末的化学成分和粒度数据如表1所示。 采用两种粘结剂, 其中一种粘结剂 (A) 是传统石蜡 (PW) -聚乙烯 (PE) 粘结剂基础上发展起来的石蜡基多组元粘结剂 (74PW-20EVA-5HDPE-1SA)
[9 ,10 ]
; 另一种粘结剂 (B) 是以石蜡基多组元粘结剂为基础发展的 (油+蜡) 改进粘结剂体系
[11 ]
, 用部分花生油 (EO) 取代石蜡, 以降低粘度和改善脱脂行为, 用少量邻苯二甲酸二辛脂 (DOP) 作为增塑剂改善粘结剂与喂料的流变行为, 其基本组成为55PW+15EO+15EVA+10HDPE+4DOP+1SA。 将粉末分别与A, B两种粘结剂在密炼机上混炼2.5 h制备两种喂料, 将喂料在单螺杆挤出机进行制粒, 然后在HTB58X/1型注射成形机上注射制备抗弯试样。 两种喂料的混炼和注射工艺参数因粘结剂的变化而异, 其具体参数如表2所示。
表1 YG8硬质合金混合粉末的性能数据 下载原图
Table 1 Property data of WC-8Co powder mixture
表1 YG8硬质合金混合粉末的性能数据
然后采用热脱脂、 溶剂脱脂+热脱脂两种脱脂方式将注射坯中的有机粘结剂脱除。 热脱脂采用纯H2 气氛, 溶剂脱脂采用正庚烷作为溶剂。 研究了两种粘结剂所组成的两种喂料的热脱脂和溶剂脱脂工艺, 比较了两种粘结剂的脱脂效果。
2 结果与讨论
2.1 热脱脂工艺优化
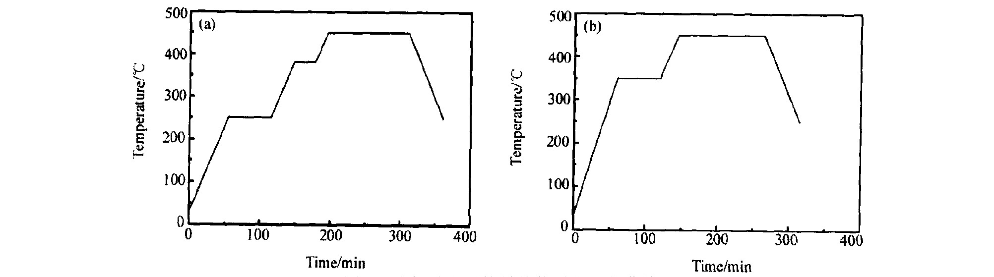
在石蜡基多组元粘结剂的热脱脂工艺中, 石蜡在250 ℃以前的低温热脱脂过程为缺陷控制的主要步骤
[12 ]
。 占主要成分的石蜡主要在250℃以前以渗透、 蒸发、 裂解的形式脱除。 PW一般在65~70 ℃发生软化和熔融。 对于1# 喂料, 注射坯在67.7 ℃以前基本无粘结剂的脱除, 所以以较快的速度如4 ℃·min-1 从室温升至67.7 ℃, 此时注射坯不会发生开裂。 当超过此温度时, PW开始软化, 随温度升高, PW发生熔融, 粘度变低, 渐渐产生渗透和蒸发, 这就意味着PW开始脱除, 喂料进入到第一个失重阶段。 在此阶段, 升温速率降低至2 ℃·min-1 从67.7 ℃升到143.7 ℃, 坯块无脱脂缺陷。 在143.7 ℃保温90 min, 以保证PW的充分蒸发打开部分的脱脂通道, 这也证明了在热脱脂的过程中, 粘结剂不仅通过裂解脱除, 还可以通过蒸发脱除。 随着温度升高, PW开始发生裂解, 产生大量的气体, 在坯块内形成气体内压, 当此压力超过外压时, 脱脂坯进入了裂解脱除阶段。 将坯件以1 ℃·min-1 升温至200 ℃, 发现坯件容易开裂, 这说明PW的分解速度大产生大量的气体。 当升温速率降至0.6 ℃·min-1 时, 坯件无脱脂缺陷。 随后将坯件以1 ℃·min-1 加热到250 ℃, 不产生裂纹等缺陷, 并且在此温度保温90 min, 以确保绝大部分PW热解, 同时使粉末颗粒进行一定的重排填充, 以防止坯件出现坍塌缺陷。 将坯件以1 ℃·min-1 加热至308 ℃保温90 min, 使PW分解完全。 接下来进入了喂料的第四个失重阶段, 在此阶段, 主要是残留高分子有机物EVA, HDPE的脱除。 在此阶段以2 ℃·min-1 升温至380 ℃保温30 min (380 ℃是EVA的热分解开始点) 然后以2 ℃·min-1 升温至450 ℃保温120 min, 不产生脱脂缺陷, 此阶段使得高分子组元EVA, HDPE热解完全。 当热脱脂温度高于450 ℃时, 脱脂坯中的碳一方面与H2 气氛中的氧反应生成CO2 , 另一方面碳与H2 反应生成CH4 , 此时粘结剂在脱除的同时也使得WC产生脱碳, 因此, 热脱脂最高脱脂温度不宜高于450 ℃。
对于2# 喂料, 首先以2 ℃·min-1 升温至140 ℃保温60 min, 以避免由于PW, EO的蒸发造成的鼓泡、 裂纹等缺陷, 然后以1 ℃·min-1 升温至250 ℃, 发现坯件全部开裂。 当把升温速度降至0.7 ℃·min-1 时, 无脱脂缺陷, 在此温度保温120 min以保证PW的充分分解和EO的蒸发脱除, 打开脱脂通道。 然后以2 ℃·min-1 升温至350 ℃, 无脱脂缺陷, 并保温30 min, 使剩余PW和EO完全分解。 最后以2 ℃·min-1 升至450 ℃保温120 min。
在硬质合金的注射成形中, 由于所使用的WC粉粒度细小, 粉末形状不规则、 比表面积大, 粉末团聚程度大, 有机粘结剂与粉末存在很大的相互作用。 有机物在粉末颗粒表面或团聚粉末颗粒空隙内形成一层吸附薄膜, 吸附层的厚度对粘结剂的脱除有着很大的影响
[13 ]
。 当粘结剂中含油、 硬脂酸、 邻苯二甲二辛脂等低分子组元时, 粘结剂能够比较均匀地包覆在粉末表面, 这些具有极性的低分子有机组元将优先吸附在WC粉颗粒表面, 减少吸附层的膜厚, 有利于粘结剂的脱除。 而且这些低分子粘结剂组元较石蜡更容易通过热脱脂脱除。 因此, 在热脱脂时, 2# 喂料注射坯的热脱脂时间较短, 对脱脂温度等工艺参数不十分敏感, 脱脂缺陷容易控制。
表2 两种喂料的混炼和注射工艺参数 下载原图
Table 2 Mixing and injection parameters of two feedstocks
表2 两种喂料的混炼和注射工艺参数
根据以上工艺参数的研究结果, 确定了1# , 2# 喂料注射样坯在纯H2 气氛下的优化脱脂曲线, 分别如图1 (a) 和 (b) 所示。 对比1# , 2# 的优化热脱脂曲线, 可以看出, 2# 喂料的在250 ℃以下只有一个保温段, 并且脱脂时间比1# 喂料减少了两个多小时 (1# , 2# 喂料的脱脂时间分别为787, 650 min) 。 按照优化热脱脂曲线脱脂, 脱脂坯均少或无缺陷。
2.2 溶剂脱脂+热脱脂
2.2.1 溶剂脱脂
石蜡在正庚烷、 环己烷中的溶解度较大, 溶剂脱脂时一般采用正庚烷、 环己烷作为溶剂
[14 ]
。 本研究采用正庚烷作为溶剂, 将两种抗弯试样注射坯浸入到正庚烷溶剂中, 研究比较了两种粘结剂在不同脱脂时间和溶剂温度下的粘结剂脱除量的变化。 图2 (a) 和 (b) 分别为溶剂温度在30, 40 ℃时1# , 2# 喂料注射坯中的粘结剂脱脂量随时间的变化曲线。 在相同脱脂条件下, 粘结剂的组成对脱除量有很大的影响。 其中2# 注射坯的脱脂速率明显快于1# , 其最大脱脂量也较多。 这主要是由于基体组元不同, 1# 喂料注射坯中的粘结剂A的基体组元PW为可溶解性组元, 对于分子量较大的石蜡, 在溶剂脱脂时首先发生较低分子量的正庚烷溶剂向较高分子的PW等聚合物中扩散, 将高分子有机物的链节强度弱化而解链, 产生溶胀效应, 再发生溶解, 因此, 其溶解速度较慢。 2# 喂料注射坯中的粘结剂B属于一种改进型的粘结剂体系, 除了基体组元PW以外, 粘结剂中还含有大量的油 (EO) 和增塑剂邻苯二甲酸二辛脂 (DOP) , 这些小分子的有机液体与正庚烷的相溶性好, 它们更容易从注射坯向溶剂中扩散而脱除, 而且不产生溶胀效应, 表现出比PW更好的溶剂脱脂特性。 随着孔隙通道打开, 脱脂速度加快。 温度是影响扩散反应速率的主要因素, 在脱脂开始阶段, 扩散反应是整个脱脂过程的控制环节。 温度越高, 分子运动越剧烈, 低分子组元向高分子组元有机物中的扩散和溶解加快, 更有利于高分子聚合物的链结构松散而使得高分子聚合物在溶剂中的溶解增加, 因而注射坯的脱脂量增加。 随温度进一步升高到50 ℃时, 扩散、 溶解、 溶胀反应加剧。 溶解增加和体积膨胀导致溶胀开裂, 温度升高, 溶解速度加快, 溶胀引起的开裂和鼓泡更为严重。 相比之下, 溶剂在粘结剂B中的溶胀反应较小, 因此2# 喂料注射坯由于溶胀反应导致开裂和鼓泡的缺陷较少。 粘结剂注射坯在溶剂中的浸没时间对粘结剂的脱除量有较大的影响。 在脱脂早期, 脱脂坯与溶液中的粘结剂浓度相差很大, 易于发生粘结剂从注射坯向溶液中扩散、 溶解。 此时粘结剂脱除速率较快, 溶液中粘结剂浓度增加。 随时间延长, 脱脂进入后期阶段, 溶液与坯体中粘结剂浓度差减小, 体系进入溶解控制阶段, 浓度差成为影响反应速率的主要因素。 脱脂坯与溶液中粘结剂浓度差减小, 导致粘结剂溶解及在溶液中扩散速率降低, 粘结剂脱除率增加, 但增加的速率逐渐减慢。 对于2# 喂料, 当温度为40 ℃, 脱脂时间为6 h。 脱脂量可达到73%以上, 而在同样条件下, 1# 喂料的脱脂量最大只有60%左右。
图1 两种注射坯的优化热脱脂曲线
Fig.1 Optimal thermal debinding processes of injection parts
(a) 1#喂料; (b) 2#喂料
图3, 4分别为混合粉末和喂料注射坯脱脂前的SEM形貌。 图3中的粉末形貌特征表现为粉末团聚较严重, 粒度小的粉末颗粒趋向于团聚在一起。 当粉末中加入有机粘结剂后, 在高的剪切应力作用下, 将团聚态的粉末解团聚, 并与熔融态的粘结剂均匀混合而十分均匀地镶嵌在连续的粘结剂中, 图4断口形貌中粉末与粘结剂的分布情况说明了这点。
图5是采用粘结剂B的注射坯在脱脂温度为40 ℃, 脱脂时间为5 h溶剂脱脂后的断口边缘与中心的断口形貌特征。 在脱脂前, 样品边缘和中间的粘结剂分部均匀一致, 粘结剂均匀包裹着金属粉末, 并形成连通网络。 脱脂达5 h时, 边缘与中央部分不再一致, 边缘和中央均出现连通孔道, 但边缘部分的孔洞要明显多于中央部分, 这反映出溶剂脱脂过程是由试样外部向内部推进, 不同于热脱脂时试样的内部和外部同时发生粘结剂的挥发或分解
[15 ,16 ]
。 脱脂达5 h时, 粘结剂中的PW, EO等能被正庚烷溶解的组元已大部分被脱除, 骨架组元EVA, HDPE仍保留其中, 起到保持坯块形状的作用, 此时坯块边缘已显示出比较清晰的粉末形貌。
图2 溶剂脱脂时的溶剂脱脂量与脱脂时间的关系曲线
Fig.2 Curves between binder loss and debinding time during solvent debinding
(a) 30 ℃; (b) 40 ℃
图3 YG8混合粉末的SEM形貌
Fig.3 SEM image of mixed powder
图4 2#喂料注射坯脱脂前的断口形貌
Fig.4 SEM image of 2# injected part before debinding
图5 2#溶剂脱脂5 h的SEM形貌
Fig.5 SEM image of 2# injected part after solvent debinding for 5 h
(1) 脱脂坯边缘; (2) 脱脂坯中心
2.2.2 溶剂脱脂+热脱脂
溶剂脱脂后, 注射坯中能被正庚烷溶解的粘结剂组元 (PW, EO) 绝大部分已被脱除, 脱脂坯内部形成了连通孔隙, 剩下的高熔点骨架组元 (HDPE, EVA) 可以采用较快的热脱脂热脱脂方式脱除。 图6是1# , 2# 喂料注射坯经过溶剂脱脂后在纯H2 气条件下的优化脱脂曲线。 1# , 2# 喂料注射坯溶剂脱脂+热脱脂总的脱脂时间分别为610和560 min。 与图1单纯热脱脂相比, 脱脂等温控制步骤阶段少了许多, 脱脂工艺简化, 不需要对脱脂工艺步骤进行严格控制, 而且也不产生脱脂缺陷。 与1# 注射坯相比, 2# 喂料的注射坯在溶剂脱脂时脱除了70%以上的有机粘结剂, 这意味着在热脱脂前, 溶剂脱脂坯内已形成了70%以上的连通开孔隙, 因此, 溶剂脱脂后的热脱脂时间更短, 脱脂工艺更为简单。
2.3 碳含量
碳含量控制是WC-Co硬质合金制备中的一个很重要的环节。 碳含量的微量波动会引起合金组织发生变化。 WC中的C含量一便在6.12%~6.14%, WC-8Co硬质合金中的C含量一般控制在5.63%~5.65%, 在此范围内, WC-8Co硬质合金由WC和γCo相组成。 碳含量过高产生游离碳, 碳含量过低产生η W2 C脆性相, 这些第三相的产生都会导致强度和硬度等性能降低。 因此, 脱脂时对碳含量应进行严格控制。
WC-Co硬质合金注射坯在H2 气氛下热脱脂极易产生脱碳, 这是因为电解H2 气氛中总伴有H2 O蒸汽存在, 当脱脂温度高于400~450 ℃时, 脱脂过程中WC易于与H2 O反应, 生成W和CO或CO2 , 产生脱碳。 严重时还会有极少量的W进一步转化为WO2 , 导致脱碳更为严重。 本实验主要通过最高脱脂温度和在此温度下的脱脂时间控制脱脂坯的碳含量, 并研究了热脱脂和溶剂脱脂对脱脂坯碳含量的影响。 表3是几种脱脂方式最高脱脂温度和时间对脱脂坯w C总 的影响。 实验以1# 喂料注射坯为代表研究了不同脱脂温度和时间的脱脂坯碳含量。 当脱脂温度高于450 ℃时, 脱脂坯中的碳含量过低, 脱碳严重。 在最高脱脂温度为450 ℃时, 脱脂时间为90 min时, 碳含量过高, 此时脱脂坯内存在大量的游离石墨。 随着保温时间的延长, w C总 降低, 当保温120 min后, 脱脂坯碳含量与原始混合粉末的碳含量基本一致。 2# 喂料注射坯由于高分子组元成分略有不同其脱脂坯碳含量略高于理论值。 由于脱脂坯在其后真空烧结时会脱碳, 因此在实际脱脂工艺中脱脂坯的碳含量应略高于理论碳含量。 因此本研究中采用溶剂溶剂脱脂后热脱脂可以较好地控制脱脂坯的碳含量。
图6 溶剂脱脂后的最佳热脱脂工艺曲线
Fig.6 Optimal thermal debinding process after solvent debinding
(a) 1#喂料; (b) 2#喂料
图7 溶剂脱脂+热脱脂后2#脱脂坯形貌
Fig.7 SEM image of brown part after solvent and thermal debinding
表3 不同脱脂工艺下的脱脂坯碳含量 w C总 下载原图
Table 3 Carbon content of brown parts during different debinding process
表3 不同脱脂工艺下的脱脂坯碳含量 w C总
3 结 论
1. 粘结剂组成对脱脂工艺有较大影响, 粘结剂中含有油等低分子液态有机组元使热脱脂和溶剂脱脂速率加快, 脱脂产生的缺陷易于控制。
2. 采用溶剂脱脂+热脱脂方式大大缩短了脱脂时间和简化了溶剂脱脂后的热脱脂工艺, 其热脱脂工艺与常规硬质合金粉末制备工艺中的脱蜡或脱胶相近。
3. 最高热脱脂温度和脱脂时间、 不同脱脂方式对硬质合金脱脂坯的碳含量有较大影响。 在较低的脱脂温度下保持较长的时间可以控制不脱碳。 溶剂脱脂+热脱脂对控制碳含量可以起到很好的效果。
参考文献
[1] Bruhn J, Terselius B.MIM offers increased applications for submi-cron WC-10%Co[J].MPR, 1999, 1:30.
[2] Lane P D, James P J.PIM may offer cheaper cutting tool[J].MPR, 1994, 7:22.
[3] Sung H J.Application of MIM for manufacturing WC-Co milling in-serts[J].J.of the Japan Society of Powder and Powdere Metallurgy, 1999, 46 (8) :887.
[4] Poniatowski D, Will G.Injection molding of tungsten carbide basehard metals[J].MPR, 1988, 12:812.
[5] Yang M J, German R M.Nanophase and superfine cemented car-bides processed by powder injection molding[J].Inter.J.of Refra.Met.&Hard Mater, 1998, 16:107.
[6] Martyn M F, James P J.The processing of hardmetal componenetsby powder injection molding[J].Int.J.of Refra Met.&HardMater, 1993-1994, 12:61.
[7] 祝宝军, 曲选辉, 陶颖, 等.硬质合金注射成形脱脂过程中的碳含量控制[J].中国有色金属学报, 2002, 12 (4) :791.
[8] 李晓明, 李益民, 黄伯云, 等.粉末注射成形硬质合金异形件热脱脂工艺的研究[J].硬质合金, 2001, 18 (4) :214.
[9] 曲选辉, 范景莲.纳米晶钨基重合金粉末的注射成形与固相烧结[J].材料研究学报, 2001, 15 (1) :130.
[10] Fan J L, Huang B Y, Qu X H.Distortion prediction and control ofinjection molded tungsten heavy alloy[J].J.of Advanced Materials, 2004, 36 (1) :72.
[11] 范景莲, 黄伯云, 曲选辉.注射成形钨合金用新型粘结剂的研究[J]粉末冶金技术, 2003, 21 (3) :131.
[12] Fan J L, Huang B Y, Qu X H, et al.Low temperature thermal de-binding behavior of wax-based multi-component binder for tungstenheavy alloy[J].Trans.Nonferrous Met.Soc.China, 1999, 9 (1) :93.
[13] Yang M J, German R M.The interaction between cemented carbidepowder and the binder of powder injection moulding feedstock[J].Advances in Powder Metallurgy, Princeton, MPIF, NJ, 1995, 6:179.
[14] Hwang K S, Hsieh Y M.Comparative study of pore structure evolu-tion during solvent and thermal debinding of powder injection moldedparts[J].Metall.&Mater Trans.A, 1996, 27A:245.
[15] Hwang K S, Tsou T H.Pore structure evolution in metal injectionmolded part during thermal debinding[J].Script Metall&Mater, 1992, 12:655.
[16] 范景莲, 夏佩华, 胡婧.钨基高比重合金注射坯溶剂脱脂工艺[J].中国有色金属学报, 2001, 11 (4) :651.